Items tagged with USPTO

A image shared to Twitter yesterday by Gigabyte's Aorus France division is generating some buzz and excitement among PC builders, as the design has the potential to vastly improve cable management and, by extension, airflow of modern... Read more...
The United States Patent and Trademark Office recently ruled that only flesh and blood humans can be granted patents, not artificial intelligence systems, thus ensuring that a Skynet scenario will play out (you didn't think I'd talk about... Read more...
Apple has a new patent application that has turned up at the USPTO that outlines a new system of haptic feedback that aims to make on-screen keyboards feel more like the real thing. The haptic tech described in the patent is called "Static... Read more...
A relatively recent trend in the smartphone space is to implement dual cameras on the backside of the handset, which enables some nifty depth-of-field effects through hardware (rather than software alone). Some phones even wield four rear... Read more...
There are a couple of challenges facing smartphone designers at the moment. One is the notch at the top of the display, a concept introduced by Andy Rubin and his Essential Phone, and later popularized by Apple and its iPhone X. The other... Read more...
There is another wrinkle in the ongoing dispute between Apple and Qualcomm over the issue of patents used in the former's iPhone devices. Previously Apple claimed Qualcomm was "unfairly...charging royalties for technologies they have nothing to do with," and more recently, the company accused... Read more...
Imagine if your smartphone could identify cracks in its display and then heal itself, much like your own body does when its suffers a scrape or bruise. It may sound like something out of a science fiction movie, but perhaps it is not all... Read more...
It has been more than four years since the introduction of the HTC First, otherwise known as the Facebook Phone. It ultimately flopped and since then we have not heard from Facebook about taking another stab at the hardware market, but... Read more...
Innovation is not dead in the smartphone space, folks. Perhaps no company knows that better than Samsung, which has been changing the way we think of smartphone displays over the past few generations of handsets. The curved edge design... Read more...
Using Windows Hello, a feature Microsoft introduced with Windows 10, you can log into your system (assuming it's compatible) with your face or your fingerprint. It's a nifty alternative to hammering out a password, but it could also be... Read more...
We’re inching closer to the release of the Samsung Galaxy S8, which is destined to be one for the best-selling smartphones of 2017 if we go by the performance of its predecessors. Leading up the launch, Samsung has filed for a patent... Read more...
Microsoft may have closed the door on its Lumia family of smartphones, but that doesn’t mean that the company has given up on phones altogether. Mobile represents a huge opportunity for a company like Microsoft — an opportunity that up... Read more...
One of our least favorite things to do is type out anything lengthy on a virtual keyboard, like those found on smartphones, tablets, and so forth. With that in mind, you'll have to excuse us for not being stoked about a recently discovered... Read more...
In a Twitter post on Monday, the United States Patent and Trademark Office (USPTO) confirmed that Michelle K. Lee is the organization’s new director. Lee once worked as a legal counsel for Google and now goes down in history as the first... Read more...
A big shout out goes to Amazon for forever changing the way we think about photography. You see, Amazon was recently granted a patent that, in short, describes taking photos of subjects and/or or objects against a white background... Read more...
Apple has snagged a patent from the USPTO for what amounts to Siri, evolved. The “method and apparatus for building an intelligent automated assistant” appears to be a situation where your whole home or office is littered with... Read more...
Apple's just been granted a rather interesting patent for an "Electronic device display module," which is really a fancy way of describing a clever dual-sided laptop display with a solar panel on back. The front of the lid would house your typical LCD, though the backside would be constructed... Read more...
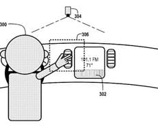
Google is apparently getting really serious about gesture control. In addition to acquiring Flutter, a San Francisco-based startup that develops gesture recognition technology, the sultan of search filed a patent application for using gestures in vehicles to perform a number of functions, such... Read more...
Google has just been granted a patent for which it applied last year regarding the ability to launch programs via specific unlocking patterns. Android users can already unlock their phones with a special pattern to jump into the operating... Read more...
Apple may be looking to improve upon the stylus as we know it today. The Cupertino company filed a patent application with the U.S. Patent & Trademark Office (USPTO) for what it calls an "Active Stylus," which can be used on capacitive... Read more...
Wielding a smartphone makes you a walking target. That's especially true of iPhone owners, and unfortunately, smartphone mugging has become the new trend in criminal circles. In fact, it was previously reported that half of all robberies... Read more...
Google has been granted a patent on a system for real-world object identification scanning that will allow the company to survey and tag images and videos. The abstract for patent 8,254,699 (hereafter referred to as the '699 patent) covers... Read more...
1 2 Next