Porsche Patents Disappearing Racing Stripes, Here's The Tech Behind It

hero 911 martini
Porsche has long mastered the art of the expensive options list, but if this latest patent is anything to go by, it suggests a future where your car’s personality and paint work can change at the flick of a switch.

A series of patent filings submitted on WIPO (World Intellectual Property Organization), reveals that the Stuttgart automaker is developing active exterior surfaces capable of appearing, disappearing, or changing color on demand. While enthusiasts have spent decades paying thousands for the company's permanent Paint-to-Sample custom jobs, this technology utilizes electrophoretic film (similar to e-ink tech) to transform the vehicle's skin into a dynamic display.

patent glass
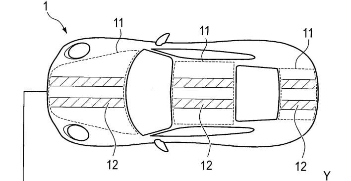
Credit: WIPO

Imagine racing stripes that appear only when the driver engages Sport or Sport Plus modes. Otherwise, on a standard commute, the same car will appear as a clean-cut 911. And the patent isn't just about theater, the technology could serve other pragmatic purposes. Porsche proposes using these dynamic surfaces as a massive, exterior state-of-charge indicator for its EVs. Instead of squinting at a small smartphone app or a dashboard screen while a Taycan sits at a DC fast charger, an owner could glance at the car from across a parking lot and see a growing bar of color along the door sills or hood, visually representing the battery level in real-time.

The dynamic panels could also change color or display messages if the car is involved in an accident or is broken down by the roadside. Or how about assist in maintenance, with specific wheels changing color to indicate low tire pressure or alignment issues? It's all on the table.

The mechanics of this tech mirrors electrochromic glass that is found in modern panoramic roofs. By applying a specific electrical current to a conductive layer beneath the clear coat, the orientation of particles within the coating shifts, changing how light is reflected or absorbed. While BMW previously experimented with a full-body wrap on its iX Flow concept, Porsche’s approach appears more targeted toward production-ready trim accents and functional signaling.

Naturally, the transition from patent to showroom floor may never happen. Questions regarding the durability of e-paper under UV exposure, the cost of repairing a digital fender bender, and the potential for misuse by drivers looking to evade identification are things still in need of ironing out. 
Tags:  Cars, Automobiles, porsche, ev
AL

Aaron Leong

Tech enthusiast, YouTuber, engineer, rock climber, family guy. 'Nuff said.