Items tagged with P2P

Several months ago, BitTorrent posed the question, "What if more of the web worked the web BitTorrent does?" To answer that question, the BitTorrent team created Project Maelstrom, a specialized web browser that fetches content from a... Read more...
The leak of Windows 10 build 10036 over the weekend (the current Technical Preview is build 9926) revealed a new settings feature indicating a move by Microsoft towards delivering OS system updates via P2P technology. With build 10036... Read more...
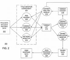
Companies that monitor BitTorrent traffic are a dime a dozen, but AT&T marks the first time that an ISP itself is going to be getting in on the action. The company has just been awarded a patent that will allow it to deeply monitor BitTorrent traffic, though its ultimate use seems to be... Read more...
The Recording Industry Association of America (RIAA) has long sought to demonize file sharers who download, trade, and share songs illegally, noting that the cumulative impact of their deeds  -- obtaining millions of songs illegally... Read more...
Pirate Bay co-founder Gottfrid Svartholm Warg is under lock and key in Cambodia after local police, acting on an international warrant issued in Sweden, arrested the young man. Warg is one of four Pirate Bay founders who all found themselves in hot water for running one of the most popular... Read more...
Just saying the word "BitTorrent" makes those at record labels and movie studios cringe, but honestly, it's not always used for nefarious purposes. The Internet Archive, which is a non-profit digital library built to enable "universal... Read more...
The impact of piracy on the music business has been studied in detail, but the relationship between illegal downloads and film revenue hasn't been explored to nearly the same degree. A new study from researchers at the University of... Read more...
Net neutrality. Throttling. Shaping. Data discrimination. Lots of weird terms, and plenty of headaches for Internet users. ISPs are looking to all sorts of methods in order to curb usage and abuse where possible, but Bell Canada is taking a rather unusual approach. But now, according to a... Read more...
Is peer-to-peer file sharing wrong? Is it illegal? Is it a crime to engage in it? If you're just casually reading that, you may say: "Of course!" But read it once again. We didn't specifically say which kind of file sharing; just file sharing in general. Different story! Thankfully, we're... Read more...
Limewire users are going to have to find another way to pirate music and movies download and share legal copies of software, such as Linux distributions and game demos, as well as freely available indie music, because the peer-to-peer service is going belly up by the end of the year. "As a... Read more...
Many are concerned about the Combating Online Infringement and Counterfeits Act (COICA, S.3804), which could potentially make it possible for the Justice Department to have sites removed from the DNS system for doing something as small as linking to a BitTorrent site such as The Pirate Bay... Read more...
The music industry dealt what appeared to be a fatal blow to LimeWire by winning a court injunction against the peer-to-peer file sharing service. Desperate to keep the ship afloat, however, LimeWire CEO George Searle confirmed that the company recently laid off 29 of it's 100-person... Read more...
Want to prosecute people who are downloading files illegally? Well, if you fine them, you might be taking money out of the hands of your best customers, a new survey shows. It's not the first such survey to come to this conclusion. However, it is the latest. The study, published on Sunday by... Read more...
The U.K. has joined France in trying to crack down on illegal downloading by instituting a policy whereby consumers found to repeatedly illegally download copyrighted material would have their Internet access suspended. This has commonly been called a "three strikes" policy, as usually the... Read more...
Qtrax - the legal, ad-supported free music download site - will begin its worldwide launch in October, starting with the Asia-Pacific region.For starters, it will operate in China (including Hong Kong), Taiwan, Philippines, Indonesia, Singapore, Malaysia, Australia and New Zealand. The... Read more...
Although it's still having trouble getting people to move from Office 2003 to Office 2007, Microsoft said a week ago at the TechEd conference that it would launch an invitation-only Technical Preview Program of the new Office in July. Never let that sort of thing stop BitTorrent downloaders, apparently. Leaked copies of the Technical Preview... Read more...
It only took a month after the fiasco that prevented the HADOPI legislation from passing for the French Assembly and Senate to regroup, and on Wednesday HADOPI, the "three strikes" anti-piracy legislation passed the French Senate.  It had passed the French National Assembly on Tuesday.The... Read more...
Judges are expected to recuse themselves in the event of a conflict of interest, and this is the basis of attorney Peter Althin's filing for a new trial. Althin represents one of The Pirate Bay founders, Peter Sunde. Althin told the Swedish daily newspaper Dagens Nyheter: "In my appeal, I will urge that the verdict of the district court will... Read more...
Citing a new (?), voluntary Code of Practice, mobile broadband providers in the U.K. are blocking access to The Pirate Bay. But the Code of Practice has been around since 2004 (according to the date on the PDF file), so why start blocking now? Answer: the verdict against The Pirate Bay from... Read more...
No time wasted here. The Pirate Bay has announced on their website that only days after a guilty verdict in their copyright infringement case, they have filed an appeal. Last Friday, the founders of The Pirate Bay, Frederik Neij, Gottfrid Svartholm Warg and Peter Sunde, as well as Carl Lundstrom, who provided financing, were each sentenced... Read more...
Hundreds of protesters demonstrated on Saturday following Friday's conviction by a Swedish court of key members of the BitTorrent tracking site The Pirate Bay. The founders of The Pirate Bay, Frederik Neij, Gottfrid Svartholm Warg and Peter Sunde, as well as Carl Lundstrom, who provided financing, were each sentenced to a year in prison and... Read more...
Last December, the RIAA announced it was giving up on file-sharing lawsuits, and would be working with ISPs in a three-strikes policy program which would eventually result in broadband being cut off for repeat offenders of illegal file-sharing. At a digital music conference in Nashville this... Read more...
1 2 Next